让找料更便捷
电子元器件
采购信息平台
生意随身带
随时随地找货
一站式电子元器件
采购平台
半导体行业观察第一站
标签:
摘要: 工作原理:充电电路由T11、T15、D8与D14组成,T11为充电检测控制三极管,T15为充电控制三极管D8与D14为极性保护二极管。
工作原理:充电电路由T11、T15、D8与D14组成,T11为充电检测控制三极管,T15为充电控制三极管D8与D14为极性保护二极管。
接入外接电源装上充电电池,首先+6V稳压电源进入工作状态,给干电池正端和CPU提供一个工作电压,当按下对比/充电键,机器进入充电状态。CPU第40脚CHARG输出充电控制电压,使三极管T15c、e之间导通,将干电池负端通过D14、T15、R51接地形成充电回路,机器开始充电(刚开始充电时,电池负端电压高)。当充满电以后,电池负端BAT-1端的电压降低,电池负端电压降低以后使二极管D8正端的电压下降(D8为嵌位二极管),正端电压下降后使三极管T11截止,CHECK输出高电平,当CPU检测到CHECK为高电平时,控制CHARG输出电压变为低电平,当CHARG为低电平三极管T15(T15起控电压0.5V)截止充电回路断开,机器充电结束(注:当充满电后,电池负端电压只有0.4V,0.4V通过D14有0.2V的压降,0.2V电压在嵌位二极管D8的控制下,三极管T11基极电压小于0.5V三极管T11截止)。

-电子元器件采购网(www、oneyac、com)是本土元器件目录分销商,采用“小批量、现货、样品”销售模式,致力于满足客户多型号、高质量、快 速交付的采购需求。自建高效智能仓储,拥有自营库存超50,000种,提供一站式正品现货采购、个性化解决方案、选项替代等多元 化服务。
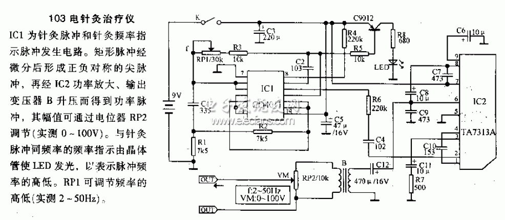
103电针灸治疗仪原理图如下所示:

-电子元器件采购网(www、oneyac、com)是本土元器件目录分销商,采用“小批量、现货、样品”销售模式,致力于满足客户多型号、高质量、快 速交付的采购需求。自建高效智能仓储,拥有自营库存超50,000种,提供一站式正品现货采购、个性化解决方案、选项替代等多元 化服务。
| 型号 | 厂商 | 价格 |
|---|---|---|
| EPCOS | 爱普科斯 | / |
| STM32F103RCT6 | ST | ¥461.23 |
| STM32F103C8T6 | ST | ¥84 |
| STM32F103VET6 | ST | ¥426.57 |
| STM32F103RET6 | ST | ¥780.82 |
| STM8S003F3P6 | ST | ¥10.62 |
| STM32F103VCT6 | ST | ¥275.84 |
| STM32F103CBT6 | ST | ¥130.66 |
| STM32F030C8T6 | ST | ¥18.11 |
| N76E003AT20 | NUVOTON | ¥9.67 |