电子产业
数字化服务平台

扫码下载
手机洽洽

  • 微信小程序

    让找料更便捷

  • 华强电子网APP

    随时找料

    即刻洽谈

    点击下载PC版
  • 华强电子网公众号

    电子元器件

    采购信息平台

  • 华强电子网移动端

    生意随身带

    随时随地找货

  • 华强商城公众号

    一站式电子元器件

    采购平台

  • 芯八哥公众号

    半导体行业观察第一站

汽车车身控制模块(BCMs)_监控不同的驱动开关负载控制功率

来源:电子发烧友 作者:华仔 浏览:304

标签:

摘要: 作为汽车的电子控制装置,汽车车身控制模块(BCMs)可以控制与汽车舒适性、便利性和照明等相关的多种功能,包括门锁、车窗、警报声、关闭传感器、内饰和外饰照明、雨刮器和转向灯。如...

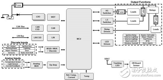
作为汽车的电子控制装置,汽车车身控制模块(BCMs)可以控制与汽车舒适性、便利性和照明等相关的多种功能,包括门锁、车窗、警报声、关闭传感器、内饰和外饰照明、雨刮器和转向灯。如图1所示,BCM可以监控不同的驱动开关并根据相应的车内负载控制功率。

图1:BCM框图

通常,一款BCM会包含一个处理汽车12V电池量驱动器开关状态的微处理器。传统上采用电阻电容和二极管等分立式无源器件通过接口电路将信号连接至微处理器。您必须细心保护微处理器免受电池电压、静电放电(ESD)、瞬态和反向电池的影响。另外,您需要为偏置开关输入提供附聚电流并确保开关接触点状态良好。

图2所示的实际案例阐述了如何处理外部接地开关输入。电容C2分流ESD和瞬态能量;二极管D1阻止高压;电阻R4设置开关处的附聚电流;电阻R4与R8共同分压;电阻R1通过R3、晶体管Q1和Q2、电容C1以及通用的输入/输出(GPIO)引脚启用或禁用附聚电流。

图2:分立附聚电流结构图

该分立方法具有三则注意事项:

微控制器以及微控制器电源电压必须保持活跃才能使附聚电流处于激活状态。这会严重影响模块在低功耗(切断)模式下消耗的电流最小值。

本解决方案需要大量的无源器件,如:用于制造附聚电流的晶体管和电阻、以及适用于每个开关输入的二极管、电阻和电容等。这导致整个解决方案的尺寸变大。

附聚电流将随着电池电压变化;比如如果电池电压下降30%,附聚电流也会下降30%。

多开关检测接口(MSDI)是一种可以处理各种问题的设备,可以汇集电池连接和接地连接的开关状态信息,并通过串行外设接口(SPI)对微处理器进行通讯支持。

实现尺寸更小、空间利用率更高解决方案的特点

MSDI设备集成了可调节的附聚电流,能够控制电池连接及接地连接的外部开关输入灌电流和拉电流。由于这些电流由内部设备监测控制,因此它们与大范围的电池输入电压保持一致。MSDI开关输入还专为处理负载突降和反向电池电压而设计,减少对分立阻塞二极管和附聚电流元件的需求,从而更多地节省电路板区域和成本。如图2所示,分立的24通道解决方案使用了75个电阻,25个电容,24个二极管和2个外部晶体管。相较之下,TI的TIC12400-Q1多开关检测接口(MSDI)仅使用24个IO引脚电容、5个去耦电容、用于中断输出的单个电阻以及单个的MSDI设备。

图3一对一比较了用于处理开关输入的分立附聚电流、反向阻断和ESD的解决方案尺寸与汽车多开关检测接口参考设计中利用包含全部所需外部电路的TIC12400-Q1设备部分的尺寸。目前,具有MSDI参考设计的两层电路板总解决方案的尺寸为17.5mmX18.8mm。

图3:TIC12400-Q1解决方案尺寸

实现更高效率更低功耗模式的特点

正如上面提到的,为监控低功耗模式下的外部开关,需要使微处理器保持通电状态且处于激活状态。这意味着微处理控制器的稳压器也必须时刻保持激活状态。这导致在低功耗模式下全系统具有更高的静态电流。

MSDI设备直接使用汽车的电池量,而且其具有的集成式低功耗轮询模式使其能监控用户所选的开关触点。比如:TIC12400-Q1具有低功耗轮询模式和一个高压开漏中断输出引脚,可以使稳压器关注开关状态的变化。这意味着您可以关闭模块中的其它电路,实现超低功耗睡眠模式,从而满足原始设备制造商(OEM)对睡眠模式日渐严苛的要求。

图4显示TIC12400-Q1处于低功耗轮询模式时的示波器屏幕截图。信道1显示开路开关触点的电压,而信道2显示设备的电流消耗。

图4:具有开关监控功能的低功耗轮询模式

如您如见,该设备在等待开关触点更改状态时可以启用附聚电流、监控输入电压并重复地返回至低功耗模式。由于模块中的所有其它电路被禁用,导致该模块的平均电流更低。

随着BCM的功能逐年增多,如具有内置的附聚电流、反向阻断和ESD保护MSDI等智能设备的附加功能将帮助实现更小的开关触点监控解决方案。另外,由于低功耗模式对电流消耗的要求越来越高,内置低功耗轮询模式的TIC12400-Q1使全系统功率节省高达98%。

型号 厂商 价格
EPCOS 爱普科斯 /
STM32F103RCT6 ST ¥461.23
STM32F103C8T6 ST ¥84
STM32F103VET6 ST ¥426.57
STM32F103RET6 ST ¥780.82
STM8S003F3P6 ST ¥10.62
STM32F103VCT6 ST ¥275.84
STM32F103CBT6 ST ¥130.66
STM32F030C8T6 ST ¥18.11
N76E003AT20 NUVOTON ¥9.67